Produkcja Audi 100 C4 w wersji nadwozia 45 rozpoczęła się pod koniec 1990 roku. Model ten był produkowany w latach 1991, 1992, 1993 i 1994. Audi następnie usunęło liczbę „100” z nazwy modelu, zmieniło nazwę samochodu na Audi A6 i kontynuowało produkcję w latach 1995, 1996 i 1997. Później seria ta została zastąpiona całkowicie nową wersją i designem Audi A6. Niniejszy materiał zawiera informacje na temat bezpieczników i przekaźników do Audi A100 C4 i
Audi A6 C4 z lat 1990-1997.

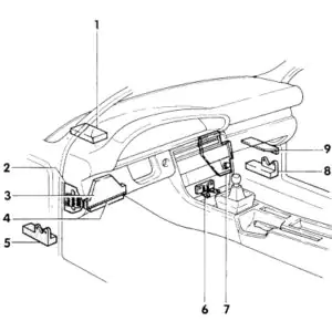
Skrzynka bezpieczników wewnątrz

- Dodatkowa płytka przekaźników i bezpieczników nr 1;
- Blok montażowy bezpieczników i przekaźników (Audi 100), blok montażowy bezpieczników (Audi A6);
- Blok zaciskowy nr 1;
- Centralna rozdzielnica ze skrzynką przekaźnikową;
- Dodatkowy blok montażowy nr 2;
- Blok zaciskowy nr 2;
- jednostka układu zapłonowego;
- Dodatkowy blok montażowy nr 3;
- Blok zaciskowy nr 3.
W zależności od konfiguracji i rocznika samochodu możliwe są zmiany w schematach. Prosimy o zachowanie ostrożności.
Skrzynka bezpieczników w komorze silnika – przypisanie
Opłata dodatkowa – nr 1
Znajduje się w komorze silnika. Aby uzyskać do niego dostęp, należy zdjąć osłonę ochronną, przesuwając zatrzaski.
Dla pojazdów Audi 100 C4 wyprodukowanych przed 1994 rokiem

Rozszyfrowanie
| NIE. | funkcjonować |
| 1 | Nieużywane |
| 2 | Przekaźnik sterujący pasami bezpieczeństwa, światła postojowe |
| 3 | Przekaźnik czasowy z opóźnieniem do oświetlenia wewnętrznego |
| 4 | Nieużywane |
| 5 | Przekaźnik reflektorów |
| 6 | Nieużywane |
| 7 | Trzeci przekaźnik prędkości wentylatora |
| 8 | Przekaźnik ABS |
| 9 | Nieużywane |
| 10 | Przekaźnik podnośnika szyb |
| 11 | Przekaźnik podnośnika szyb |
| 12 | Przekaźnik spryskiwacza i wycieraczki tylnej szyby |
| 13 | Nieużywane |
| 14 | Przekaźnik nadprądowy do szyb elektrycznych |
| 15 | Przekaźnik ogrzewania fotela kierowcy |
| 16 | Przekaźnik ogrzewania fotela pasażera |
| 17 | Nieużywane |
Do pojazdów A6 C4 wyprodukowanych w latach 1994-1997

Rozszyfrowanie
| NIE. | funkcjonować |
| 1 | Przekaźnik sterujący wentylatorem chłodzącym, gdy silnik nie pracuje |
| 2 | Przekaźnik wentylatora chłodzącego silnika |
| 3 | Trzeci przekaźnik prędkości wentylatora |
| 4 | Przekaźnik świateł przeciwmgielnych |
| 5 | Nieużywane |
| 6 | Przekaźnik do myjek wysokociśnieniowych |
| 7 | Przekaźnik świateł do jazdy dziennej |
| 8 | Przekaźnik przełączający światło |
| 9 | Przekaźnik sprzęgła klimatyzacji |
| 10 | Przekaźnik aktywacji modułu klimatyzacji |
| 11 | Przekaźnik wycieraczki i spryskiwacza tylnej szyby |
| 12 | Nieużywane |
| 13 | Przekaźnik mocy głośnika |
| 14 | Jednostka monitorująca stan lampy |
| 15 | Jednostka monitorująca stan lampy |
| 16 | Jednostka sterująca Servotronic do wspomagania układu kierowniczego |
| 17 | Przekaźnik klimatyzacji |
| wyłącznik | |
| A1 | Automatyczne zamykanie okien |
| A2 | Centralny zamek |
| A3 | Regulator szyby |
| A4 | radio |
| A5 | Ogrzewanie siedzeń |
| B1 | Pamięć ustawienia fotela |
| B2 | Elektryczne siedzenia |
| B3 | Podgrzewane cylindry zamka drzwi |
| B4 | Nieużywane |
| B5 | Łukasz |
Dla pojazdów Audi 100 C4 wyprodukowanych przed 1994 rokiem

Rozszyfrowanie
| NIE. | A | funkcjonować |
| 1 | 15 | Tylne światła przeciwmgielne |
| 2 | 15 | System ostrzegania o zagrożeniach |
| 3 | 25 | Klakson, światło stopu |
| 4 | 15 | Zegar, zapalniczka , klimatyzacja, oświetlenie wnętrza i bagażnika, tempomat, radio |
| 5 | – | Nieużywane |
| 6 | 5 | Lampy do prawego tylnego światła, światła postojowego i światła obrysowego bocznego |
| 7 | 5 | Lampy lewego światła tylnego, światła postojowego i światła obrysowego bocznego |
| 8 | 10 | Światło drogowe prawe, kontrolka świateł drogowych |
| 9 | Lewe światło drogowe | |
| 10 | 10 | Światło mijania, prawy reflektor |
| 11 | 10 | Lewe światło mijania |
| 12 | 15 | System blokady mechanizmu różnicowego, światła cofania, tempomat, ogrzewanie wnętrza |
| 13 | 15 | pompa paliwa |
| 14 | 5 | Lampki oświetlenia tablicy rejestracyjnej, zestawu wskaźników, popielniczki, jednostki sterującej klimatyzacją, komory silnika i schowka na rękawiczki |
| 15 | 25 | Silnik wycieraczek szyby przedniej, kierunkowskazy, klimatyzacja, podgrzewane dysze spryskiwaczy szyby przedniej, czujnik temperatury wentylatora chłodzącego silnik |
| 16 | 30 | Ogrzewanie tylnej szyby, ogrzewanie lusterka wstecznego |
| 17 | 30 | System klimatyzacji (wentylator) |
| 18 | 15 | Wycieraczka tylnej szyby |
| 19 | 10 | Centralny zamek, urządzenie antykradzieżowe, podgrzewanie zamka drzwi |
| 20 | 30 | Ogrzewanie siedzeń |
| 21 | 10 | Blok diagnostyczny |
| 22 | – | Nieużywane |
| 23 | 5 | Oświetlenie tablicy rejestracyjnej |
| 24 | – | Nieużywane |
| 25 | 30 | Silniki regulacji fotela kierowcy, jednostka pamięci położenia fotela kierowcy |
| 26 | 5 | Zestaw wskaźników, elektrycznie regulowane lusterka wsteczne, automatyczny układ sterowania, tempomat (jeśli jest na wyposażeniu) |
| 27 | 10 | jednostka sterująca zapłonem |
| 28 | 15 | Jednostka sterująca wtryskiem paliwa |
| 29 | 10 | Podgrzewany czujnik tlenu |
| 30 | – | Nieużywane |
| 31 | – | Kopie zapasowe kopii zapasowych |
| przekaźnik | ||
| 1 | Nieużywane | |
| 2 | 2. Przekaźnik prędkości wentylatora | |
| 3 | 1. Przekaźnik prędkości wentylatora | |
| 4 | Nieużywane | |
| 5 | Przekaźnik rozładowania | |
| 6 | Nieużywane | |
| 7 | Sztafeta klaksonu | |
| 8 | Przekaźnik sterujący automatyczną skrzynią biegów i urządzeniem antykradzieżowym | |
| 9 | Nieużywane | |
| 10 | Przekaźnik pompy paliwa | |
| 11 | Nieużywane | |
Do pojazdów A6 C4 wyprodukowanych w latach 1994-1997
Bezpieczniki znajdują się po lewej stronie deski rozdzielczej, pod osłoną wyróżniającą się od reszty tła.

Opis programu
1. 10A – Prawe światło drogowe i lampka sygnalizacyjna świateł drogowych
2. 10A – Lewe światło drogowe
3. 10A – Prawe światło mijania 4. 10A – Lewe światło mijania 5. 5A – Prawe
światło pozycyjne 6. 5A – Lewe światło pozycyjne 7. 10A – Oświetlenie tablicy rejestracyjnej, schowek, komora silnika, panel sterowania temperaturą, popielniczka i deska rozdzielcza 8. 15A – Zegar, lampki do czytania map, lampa bagażnika, zapalniczka, lampki oświetlenia wnętrza, lampki w osłonie przeciwsłonecznej, komputer pokładowy, regulatory lusterek wstecznych, programowalne regulatory siedzeń 9. 10A – Światła stopu 10. 15A – Światła awaryjne 11. 30A – Wentylator ogrzewania, klimatyzacja 12. 30A – Odmrażanie tylnej szyby i lusterka wstecznego 13. 25A – Wycieraczki szyby przedniej, kierunkowskazy, wentylatory chłodnicy, podgrzewacze spryskiwaczy, czujnik temperatury oleju przekładniowego 14. 15A – Światło cofania, spryskiwacz szyby przedniej, tempomat, blokada mechanizmu różnicowego, czujnik wielofunkcyjny, czujnik prędkościomierza, filtr wody, automatyczna skrzynia biegów 15. 5A – Deska rozdzielcza, lusterko wsteczne, komputer pokładowy 16. 15A – Światła przeciwmgielne 17. 20A – Pompa paliwa, zawór ogrzewania 18. 15A – Wycieraczka tylnej szyby 19. 25A – System diagnostyczny, klakson, przekaźnik wentylatora 20. 5A – Tempomat, automatyczna skrzynia biegów 21. 15A – ABS
Centralna skrzynka bezpieczników
Nadal tylko dla pojazdów Audi A6 C4 z lat 1994-1997

Opis
| NIE. | funkcjonować |
| 1 | Przekaźnik rozładowania |
| 2 | Sztafeta klaksonu |
| 3 | Przekaźnik spryskiwaczy reflektorów |
| 4 | Przekaźnik zamka centralnego Przekaźnik świateł tylnych (skrzynia manualna) Przekaźnik skrzyni automatycznej (nr części) |
| 5 | Przekaźnik przerywający działanie wycieraczek i spryskiwaczy szyb |
| 6 | Przekaźnik pompy paliwa |
Dodatkowy blok montażowy – nr 5

Opis
| NIE. | funkcjonować |
| 1 | Jednostka sterująca podnośnikiem szyb elektrycznych |
| 2 | Jednostka sterująca podnośnikiem szyb elektrycznych |
| 3 | Elektryczny sterownik lusterka wstecznego. Automatyczne zamykanie szyb . |
| 4 | Jednostka sterująca elektrycznego lusterka wstecznego ABS combi |
| 5 | Moduł sterujący blokadą zmiany biegów. |
| 6 | Automatyczny transfer |
| 7 | Bezpiecznik wentylatora chłodzącego Moduł elektronicznego sterowania tłumieniem (bezpiecznik) |
| 8 | Wentylator (bezpiecznik) |
Blok przyłączeniowy 3 – nr 9

Opis
| NIE. | funkcjonować |
| 1 | Nieużywane |
| 2 | Przekaźnik kontrolki poduszki powietrznej |
| 3 | Nieużywane |
| 4 | Nieużywane |
| 5 | Przekaźnik pompy powietrza pomocniczego |
| 6 | Nieużywane |
| 7 | Nieużywane |
| 8 | Zabezpieczenie dodatkowej pompy powietrza kolektora wydechowego |